Ich hatte die Betriebsbremse so fest, dass das Gehäuse in der Hinterachse heiß wurde.
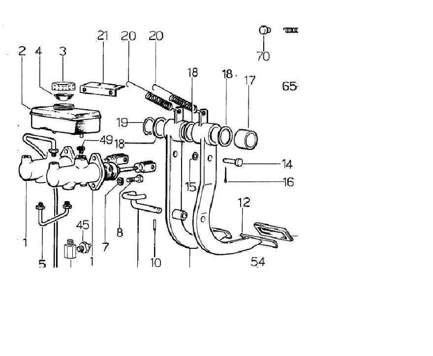
Ich habe beide Betätigungszylinder ausgebaut um sicher zu sein, dass ein Rücklauf von Bremsöl durch die Nachlaufbohrung in den Bremsölbehälter gewährleistet ist.
Dabei habe ich auch die Betätigungsstange vom Bremszylinder ausgebaut um sicher zu sein, dass durch die Montage der Haltescheibe der Betätigungsstange der Kolben nicht daran gehindert wird, durch den Druck der Feder seine Endstellung zu erreichen.
Wenn ich Bremsöl in den Anschluß Leitung zur Radbremse einfülle, so läuft dieses Bremsöl ungehindert durch den Zylinder und durch die Nachlaufbohrung in den Bereich des Zylinders unterhalb der Dichtung 49.
Ich habe danach wieder alles zusammengebaut und das Bremssystem entlüftet. Nach einer ca. 30 km langen Probefahrt konnte ich keine Überhitzung des Bremsgehäuses feststellen. Es funktioniert jetzt zwar, aber ich weiß nicht warum und wie lange. Das beunruhigt mich mehr als wenn ich eine Ursache gefunden hätte.
Ich bin gespannt auf eure Ratschläge/Tipps.
Tiger Six 105 - Betriebsbremse heiß
Radbremsen, Feststellbremse
-
Kurt_TigerSix105
- Foren-Administrator
- Beiträge: 1327
- Registriert: 31. Oktober 2010, 21:51
- Wohnort: 57629 Mörsbach Ww.
- Kontaktdaten:
Tiger Six 105 - Betriebsbremse heiß
Beitrag von Kurt_TigerSix105 »
Viele Gruesse
Kurt
"Bei 99% aller Probleme ist die umfassende Beschreibung des Problems bereits mehr als die Hälfte der Lösung desselben."
Kurt
"Bei 99% aller Probleme ist die umfassende Beschreibung des Problems bereits mehr als die Hälfte der Lösung desselben."
Gehe zu
- Allgemeines
- ↳ Das Forum betreffend...
- ↳ Neuigkeiten und Ankündigungen
- ↳ Firmen, Adressen, Webseiten
- Same
- ↳ DA 12 bis DA 67 ohne Sametto (1953-1966)
- ↳ Wissenswertes
- ↳ Motor
- ↳ Triebwerk
- ↳ Bremse
- ↳ Lenkung
- ↳ Karosserie
- ↳ elektrische Anlage
- ↳ Heckhydraulik
- ↳ Bereifung
- ↳ Zubehör
- ↳ Puledro, 240, 250, 360, 480, Ariete, Atlanta, Italia (1959-65)
- ↳ Wissenswertes
- ↳ Motor
- ↳ Triebwerk
- ↳ Bremse
- ↳ Lenkung
- ↳ Karosserie
- ↳ elektrische Anlage
- ↳ Heckhydraulik
- ↳ Bereifung
- ↳ Zubehör
- ↳ Delfino, Aurora (1971-95)
- ↳ Wissenswertes
- ↳ Motor
- ↳ Triebwerk
- ↳ Bremse
- ↳ Lenkung
- ↳ Karosserie
- ↳ elektrische Anlage
- ↳ Heckhydraulik
- ↳ Bereifung
- ↳ Zubehör
- ↳ Falcon, Minitauro, Centauro (1965-78)
- ↳ Wissenswertes
- ↳ Motor
- ↳ Triebwerk
- ↳ Bremse
- ↳ Lenkung
- ↳ Karosserie
- ↳ elektrische Anlage
- ↳ Heckhydraulik
- ↳ Bereifung
- ↳ Zubehör
- ↳ Leone, Corsaro, Saturno, Ariete (1967-80)
- ↳ Wissenswertes
- ↳ Motor
- ↳ Triebwerk
- ↳ Bremse
- ↳ Lenkung
- ↳ Karosserie
- ↳ elektrische Anlage
- ↳ Heckhydraulik
- ↳ Bereifung
- ↳ Zubehör
- ↳ Panter, Drago, Buffalo (1973-77)
- ↳ Wissenswertes
- ↳ Motor
- ↳ Triebwerk
- ↳ Bremse
- ↳ Lenkung
- ↳ Karosserie
- ↳ elektrische Anlage
- ↳ Heckhydraulik
- ↳ Bereifung
- ↳ Zubehör
- ↳ Falcon, Condor, Taurus, Minitaurus (1976-87)
- ↳ Wissenswertes
- ↳ Motor
- ↳ Triebwerk
- ↳ Bremse
- ↳ Lenkung
- ↳ Karosserie
- ↳ elektrische Anlage
- ↳ Heckhydraulik
- ↳ Bereifung
- ↳ Zubehör
- ↳ Centauro, Centurion, Mercury, Leopard (1978-87)
- ↳ Wissenswertes
- ↳ Motor
- ↳ Triebwerk
- ↳ Bremse
- ↳ Lenkung
- ↳ Karosserie
- ↳ elektrische Anlage
- ↳ Heckhydraulik
- ↳ Bereifung
- ↳ Zubehör
- ↳ Panther, Jaguar (1978-84)
- ↳ Wissenswertes
- ↳ Motor
- ↳ Triebwerk
- ↳ Bremse
- ↳ Lenkung
- ↳ Karosserie
- ↳ elektrische Anlage
- ↳ Heckhydraulik
- ↳ Bereifung
- ↳ Zubehör
- ↳ Tiger, Trident (1977-83)
- ↳ Wissenswertes
- ↳ Motor
- ↳ Triebwerk
- ↳ Bremse
- ↳ Lenkung
- ↳ Karosserie
- ↳ elektrische Anlage
- ↳ Heckhydraulik
- ↳ Bereifung
- ↳ Zubehör
- ↳ Drago, Buffalo, Hercules (1978-86)
- ↳ Wissenswertes
- ↳ Motor
- ↳ Triebwerk
- ↳ Bremse
- ↳ Lenkung
- ↳ Karosserie
- ↳ elektrische Anlage
- ↳ Heckhydraulik
- ↳ Bereifung
- ↳ Zubehör
- ↳ Vigneron, Frutteto, Golden (1979-2009)
- ↳ Wissenswertes
- ↳ Motor
- ↳ Triebwerk
- ↳ Bremse
- ↳ Lenkung
- ↳ Karosserie
- ↳ elektrische Anlage
- ↳ Heckhydraulik
- ↳ Bereifung
- ↳ Zubehör
- ↳ Explorer, Explorer II, Explorer III (1983- heute) auch Same Acqua Speed 95
- ↳ Wissenswertes
- ↳ Motor
- ↳ Triebwerk
- ↳ Bremse
- ↳ Lenkung
- ↳ Karosserie
- ↳ elektrische Anlage
- ↳ Heckhydraulik
- ↳ Bereifung
- ↳ Zubehör
- ↳ Laser, Galaxy (1985-96)
- ↳ Wissenswertes
- ↳ Motor
- ↳ Triebwerk
- ↳ Bremse
- ↳ Lenkung
- ↳ Karosserie
- ↳ elektrische Anlage
- ↳ Heckhydraulik
- ↳ Bereifung
- ↳ Zubehör
- ↳ Solar (1987-97)
- ↳ Wissenswertes
- ↳ Motor
- ↳ Triebwerk
- ↳ Bremse
- ↳ Lenkung
- ↳ Karosserie
- ↳ elektrische Anlage
- ↳ Heckhydraulik
- ↳ Bereifung
- ↳ Zubehör
- ↳ Aster (1989-96)
- ↳ Motor
- ↳ Triebwerk
- ↳ Bremse
- ↳ Lenkung
- ↳ Karosserie
- ↳ elektrische Anlage
- ↳ Heckhydraulik
- ↳ Bereifung
- ↳ Zubehör
- ↳ Antares, Antares II (1989-2000)
- ↳ Motor
- ↳ Triebwerk
- ↳ Bremse
- ↳ Lenkung
- ↳ Karosserie
- ↳ elektrische Anlage
- ↳ Heckhydraulik
- ↳ Bereifung
- ↳ Zubehör
- ↳ Titan (1991-2001)
- ↳ Wissenswertes
- ↳ Motor
- ↳ Triebwerk
- ↳ Bremse
- ↳ Lenkung
- ↳ Karosserie
- ↳ elektrische Anlage
- ↳ Heckhydraulik
- ↳ Bereifung
- ↳ Zubehör
- ↳ Solaris (1992 - )
- ↳ Wissenswertes
- ↳ Motor
- ↳ Triebwerk
- ↳ Bremse
- ↳ Lenkung
- ↳ Karosserie
- ↳ elektrische Anlage
- ↳ Heckhydraulik
- ↳ Bereifung
- ↳ Zubehör
- ↳ Argon, Argon Classic, Argon III (1993-heute)
- ↳ Wissenswertes
- ↳ Motor
- ↳ Triebwerk
- ↳ Bremse
- ↳ Lenkung
- ↳ Karosserie
- ↳ elektrische Anlage
- ↳ Heckhydraulik
- ↳ Bereifung
- ↳ Zubehör
- ↳ Dorado alle Typen (1995- )
- ↳ Motor
- ↳ Triebwerk
- ↳ Bremse
- ↳ Lenkung
- ↳ Karosserie
- ↳ elektrische Anlage
- ↳ Heckhydraulik
- ↳ Bereifung
- ↳ Zubehör
- ↳ Silver, alle Typen (1995-2013)
- ↳ Wissenswertes
- ↳ Motor
- ↳ Triebwerk
- ↳ Bremse
- ↳ Lenkung
- ↳ Karroserie
- ↳ elektrische Anlage
- ↳ Heckhydraulik
- ↳ Bereifung
- ↳ Zubehör
- ↳ Rubin (1998-2004)
- ↳ Wissenswertes
- ↳ Motor
- ↳ Triebwerk
- ↳ Bremse
- ↳ Lenkung
- ↳ Karosserie
- ↳ elektrische Anlage
- ↳ Heckhydraulik
- ↳ Bereifung
- ↳ Zubehör
- ↳ Raupenschlepper
- ↳ Wissenswertes
- ↳ Motor
- ↳ Triebwerk
- ↳ Bremse
- ↳ Lenkung
- ↳ Karosserie
- ↳ elektrische Anlage
- ↳ Heckhydraulik
- ↳ Bereifung
- ↳ Zubehör
- Lamborghini
- ↳ Wie wird Lamborghini richtig ausgesprochen
- ↳ Lamborghini Acqua Speed 100
- ↳ Wissenswertes
- ↳ Motor
- ↳ Triebwerk
- ↳ Bremse
- ↳ Lenkung
- ↳ Karosserie
- ↳ elektrische Anlage
- ↳ Heckhydraulik
- ↳ Bereifung
- ↳ Zubehör
- ↳ Alle Lamborghini Typen (1948 - 1967)
- ↳ Wissenswertes
- ↳ Motor
- ↳ Triebwerk
- ↳ Bremse
- ↳ Lenkung
- ↳ Karosserie
- ↳ elektrische Anlage
- ↳ Heckhydraulik
- ↳ Bereifung
- ↳ Zubehör
- ↳ R235 (1972 - 1989)
- ↳ Wissenswertes
- ↳ Motor
- ↳ Triebwerk
- ↳ Bremse
- ↳ Lenkung
- ↳ Karosserie
- ↳ elektrische Anlage
- ↳ Heckhydraulik
- ↳ Bereifung
- ↳ Zubehör
- ↳ R503 - R603 (1973-1982) R704 - R804 - R904 (1976-1982)
- ↳ Wissenswertes
- ↳ Motor
- ↳ Triebwerk
- ↳ Bremse
- ↳ Lenkung
- ↳ Karosserie
- ↳ elektrische Anlage
- ↳ Heckhydraulik
- ↳ Bereifung
- ↳ Zubehör
- ↳ 654(77-82) - 754(75-82 - 754(82-85) - 784(80-85) - 854(76-85) - 955(79-85)
- ↳ Wissenswertes
- ↳ Motor
- ↳ Triebwerk
- ↳ Bremse
- ↳ Lenkung
- ↳ Karosserie
- ↳ elektrische Anlage
- ↳ Heckhydraulik
- ↳ Bereifung
- ↳ Zubehör
- ↳ 483 - 583 - 653 - 683 - 684 (1980 - 1985)
- ↳ Wissenswertes
- ↳ Motor
- ↳ Triebwerk
- ↳ Bremse
- ↳ Lenkung
- ↳ Karosserie
- ↳ elektrische Anlage
- ↳ Heckhydraulik
- ↳ Bereifung
- ↳ Zubehör
- ↳ 550 - 660 (1986-1997)
- ↳ Wissenswertes
- ↳ Motor
- ↳ Triebwerk
- ↳ Bremse
- ↳ Lenkung
- ↳ Karosserie
- ↳ elektrische Anlage
- ↳ Heckhydraulik
- ↳ Bereifung
- ↳ Zubehör
- ↳ 600 - 700 (1989 - 1996)
- ↳ Crono 554-50 - 564-60 - 574-70 (1993 - 2001)
- ↳ Wissenswertes
- ↳ Motor
- ↳ Triebwerk
- ↳ Bremse
- ↳ Lenkung
- ↳ Karosserie
- ↳ elektrische Anlage
- ↳ Heckhydraulik
- ↳ Bereifung
- ↳ Zubehör
- ↳ Premium 850 - 950 - 1050 - 1060 (1995 - 2004)
- ↳ Wissenswertes
- ↳ Motor
- ↳ Triebwerk
- ↳ Bremse
- ↳ Lenkung
- ↳ Karosserie
- ↳ elektrische Anlage
- ↳ Heckhydraulik
- ↳ Bereifung
- ↳ Zubehör
- ↳ Crono 70- 80 - 90 - 100 (2017 - )
- ↳ Wissenswertes
- ↳ Motor
- ↳ Triebwerk
- ↳ Bremse
- ↳ Lenkung
- ↳ Karosserie
- ↳ elektrische Anlage
- ↳ Heckhydraulik
- ↳ Bereifung
- ↳ Zubehör
- ↳ R1.30 - R1.55
- ↳ Wissenswertes
- ↳ Motor
- ↳ Triebwerk
- ↳ Bremse
- ↳ Lenkung
- ↳ Karosserie
- ↳ elektrische Anlage
- ↳ Heckhydraulik
- ↳ Bereifung
- ↳ Zubehör
- ↳ R4.85 - R4.110 (2004 - 2009)
- ↳ Wissenswertes
- ↳ Motor
- ↳ Triebwerk
- ↳ Bremse
- ↳ Lenkung
- ↳ Karosserie
- ↳ Elektrische Anlage
- ↳ Heckhydraulik
- ↳ Bereifung
- ↳ Zubehör
- Off-topic
- ↳ Off-topic
- ↳ Vorstellungen
- ↳ Galerie
- ↳ Biete / Suche
- ↳ Biete
- ↳ Suche
- ↳ Termine